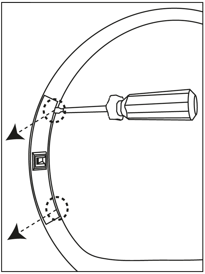
Как разобрать и собрать предохранительную блокировку дверцы (сушильной машины)
Решение
Безопасность
Все работы, выполняемые внутри устройства, требуют специальных навыков и знаний и могут выполняться только квалифицированными и авторизованными сервисными инженерами.
Эта платформа не оснащена переключателем ВКЛ/ВЫКЛ.
Прежде чем получить доступ к внутренним компонентам, выньте вилку из розетки, чтобы отключить питание.
Некоторые компоненты механической части могут стать причиной травм, поэтому надевайте соответствующую защиту и действуйте осторожно.
Всегда сливайте из прибора всю воду, прежде чем положить его на бок.
Если прибор необходимо положить на бок для технического обслуживания или по другой причине, положите его на левый бок, чтобы избежать риска попадания остатков воды на главную плату.
Разобрать


Собрать
